Cấu tạo và ưu điểm của dòng tời kéo mặt đất JK, JM
Tời kéo mặt đất hiện được sử dụng chủ yếu trong các công trình xây dựng, bến cảnh, chủ yếu để kéo vật theo phương ngang, máy được đặt ở dưới mặt đất dùng để kéo hàng hóa thiết bị, kéo tàu thuyền, ca nô hay kéo các thiết bị lên cao.
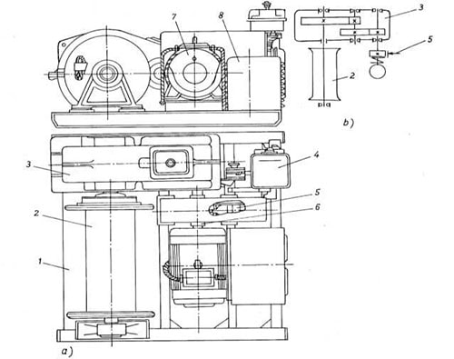
Tời điện kéo mặt đất JK,JM
Tời kéo mặt đất là gì? Cấu tạo của máy tời kéo mặt đất ra sao?
Cấu tạo máy tời kéo bao gồm các bộ phận sau:
- Tang cuốn cáp
- Hộp giảm tốc
- Dây cáp tời
- Thiết bị truyền lực cho máy tời : động cơ điện, động cơ đốt trong, thủy lực, …
- Phanh an toàn : Phanh tự hãm, phanh tay, phanh điện từ, phanh thủy lực.
- Thiết bị điều khiển máy tời
- Bộ ly hợp
Cấu tạo máy tời kéo mặt đất
Khác với pa lăng cáp điện hay các loại tời khác như tời mini PA , tời kio đài loan, tời kéo mặt đất được đặt cố định dưới đất, không phải treo lên cao, hay treo vào dầm.
Tham khảo video đấu điện tời kéo mặt đất KENBO JM10 chuẩn bị giao cho khách
Tham khảo xem video hướng dẫn chọn tời điện công nghiệp hiệu quả :
Ưu , nhược điểm của dòng tời kéo mặt đất JK, JM :
– Tời kéo mặt đất JK, JM có bộ điều khiện nhỏ gọn, dễ dàng cho người sử dụng
– Máy tời kéo có tải trọng kéo, nâng vật lớn, có các kích cỡ từ 1 tấn, 2 tấn, 5 tấn có thể lên đến 30 tấn tùy theo yêu cầu người sử dụng.
– Máy có thiết kế tang cuốn cáp lớn, dây cáp dài do đó có thể kéo vật từ xa.
- Phanh điện trở thiết kế cho cả tải trọng tĩnh và tải trọng động.
- Máy tự động dừng lại khi dây cáp chạm vào cần giới hạn để đảm bảo an toàn.
- Máy sử dụng nguồn điện 1 pha điện dân dụng để hoạt động, người điều khiển từ xa để kéo vật nên an toàn nahnh chóng và hiệu quả.
- Máy có thiết kế nhỏ gọn, dễ dàng vận chuyển từ công trình này sang công trình khác
- Máy có thể sử dụng trong nhà hoặc ngoài trời tùy ý, máy hoạt động độc lập không cần các thiết bị khác hỗ trợ, không phải treo lên cao, không phải treo vào dầm như các thiết bị nâng hạ khác.
- Tốc độ kéo của máy lớn từ 16-22 mét/ phút.
Video quay trực tiếp kỹ thuật viên Lạc Hồng quấn cáp cho tời kéo mặt đất JM2 giao cho đại lý :
Quý khách tham khảo video kỹ thuật viên Lạc Hồng quấn cáp cho tời kéo mặt đất JK5 cho khách hàng ở Hà Nội :
Địa chỉ cung cấp:
Công ty cổ phần máy xây dựng Lạc Hồng là đơn vị chuyên nhập khẩu trực tiếp các thiết bị nâng hạ như: tời điện, tời kéo mặt đất, pa lăng cáp điện, pa lăng xích điện, pa lăng kéo tay,..với uy tín 20 năm trên thị trường máy xây dựng.
Máy móc thiết bị do công ty chúng tôi nhập khẩu trực tiếp từ các nước như Nhật Bản, Trung Quốc, Hàn Quốc,... phân phối đến tay người tiêu dùng do đó có giá cả cạnh tranh nhất trên thị trường. Máy móc thiết bị do Lạc Hồng cung cấp đảm bảo chất lượng, nói không với hàng giả hàng nhái, máy có đầy đủ giấy chứng nhận nhập khẩu, giấy chứng nhận CO-CQ,.. chứng minh hàng chính hãng.
Mọi thông tin chi tiết xin vui lòng liên hệ:
☎ ️Hotline: 0968.591.772 - 0947.636.122 - 1900.636.122
☎ Tư vấn kỹ thuật: 0966.636.122 - 0964.879.260
- https://www2.sgc.gov.co/sgc/volcanes/Paginas/borrar/paginas.htm
- https://www2.sgc.gov.co/sgc/volcanes/Paginas/borrar/phong-kham-tri-uy-tin.html
- https://www2.sgc.gov.co/sgc/volcanes/Paginas/borrar/chi-phi-kham-phu-khoa.html
- https://bvdkht.vn/feedback/2628/dia-chi-dat-vong-tranh-thai.html
- https://bvdkht.vn/feedback/2553&phong-kham-hung-thinh.html
- https://bvdkht.vn/feedback/2628/dia-chi-chua-benh-giang-mai.html
- https://www2.sgc.gov.co/sgc/volcanes/Paginas/borrar/kham-benh-xa-hoi.htm
- https://bvdkht.vn/feedback/2660/dia-chi-cat-bao-quy-dau.html
- https://bvdkht.vn/feedback/2628/cach-lam-co-bui-tri-ngoai.html
- https://bvdkht.vn/feedback/2660/phong-kham-hung-thinh-380-xa-dan.html
- https://www2.sgc.gov.co/sgc/volcanes/Paginas/borrar/khi-hu-co-mau-sau-quan-he.html
- https://www2.sgc.gov.co/sgc/volcanes/Paginas/borrar/index.htm
- https://www2.sgc.gov.co/sgc/volcanes/paginas/borrar/dat-vong-tranh-thai.html
- https://www2.sgc.gov.co/sgc/volcanes/Paginas/borrar/dau-tinh-hoan-kham-o-dau.html
- https://www2.sgc.gov.co/sgc/volcanes/Paginas/borrar/direccion-aborto-seguro.html
- https://www2.sgc.gov.co/sgc/volcanes/Paginas/borrar/dai-tien-ra-mau.html
- https://www2.sgc.gov.co/sgc/volcanes/Paginas/borrar/hut-thai-co-dau-khong.html
- https://bvdkht.vn/feedback/2628/review-phong-kham-hung-thinh.html
- https://bvdkht.vn/feedback/2628/hut-thai-co-dau-khong.html
- https://www2.sgc.gov.co/sgc/volcanes/Paginas/borrar/phongkhamtriuytin.html
- https://www2.sgc.gov.co/sgc/volcanes/Paginas/borrar/dau-hieu-mang-thai.html
- https://www2.sgc.gov.co/sgc/volcanes/Paginas/borrar/clinica-de-andrologia-de-confianza.html
- https://www2.sgc.gov.co/sgc/volcanes/Paginas/borrar/recursos-minerales.htm
- https://bvdkht.vn/feedback/2553&kham-phu-khoa-o-dau
- https://bvdkht.vn/feedback/2656/hinh-anh-noi-mun-o-vung-kin-nu.html
- https://bvdkht.vn/feedback/2553&phong-kham-da-khoa-tu-nhan.html
- https://bvdkht.vn/feedback/2628/chi-phi-pha-thai-hut-thai-het-bao-nhieu-tien.html
- https://bvdkht.vn/feedback/2628/chi-phi-kham-phu-khoa.html
- https://www2.sgc.gov.co/sgc/volcanes/Paginas/borrar/dia-chi-chua-benh-liet-duong-o-dau-tot-nhat-ha-noi.html
- https://www2.sgc.gov.co/sgc/volcanes/Paginas/borrar/hinh-anh-sui-mao-ga-o-mieng.html
- https://www2.sgc.gov.co/sgc/volcanes/Paginas/borrar/costo-del-tratamiento-de-las-verrugas-genitales.html
- https://bvdkht.vn/feedback/2628/than-duong-vat-noi-mun-do-mun-trang.html
- https://www2.sgc.gov.co/sgc/volcanes/Paginas/borrar/294duong-vat-noi-mun.html
- https://www2.sgc.gov.co/sgc/volcanes/Paginas/borrar/chi-phi-kham-nam-khoa.html
- https://bvdkht.vn/feedback/2553&tu-van-phu-khoa-online.html
- https://bvdkht.vn/feedback/2553&cach-pha-thai-an-toan-nhat-2025
- https://www2.sgc.gov.co/sgc/volcanes/Paginas/borrar/bang-gia-phong-kham-hung-thinh.html
- https://www2.sgc.gov.co/sgc/volcanes/Paginas/borrar/chi-phi-cat-bao-quy-dau-o-ha-noi.html
- https://www2.sgc.gov.co/sgc/volcanes/Paginas/borrar/default.htm
- https://www2.sgc.gov.co/sgc/volcanes/Paginas/borrar/26-cach-tri-hoi-nach-vinh-vien-an-toan-nhat-tai-nha.html
- https://www2.sgc.gov.co/sgc/volcanes/Paginas/borrar/olor-de-axilas.html
- https://bvdkht.vn/feedback/2656/kham-phu-khoa-o-dau.html
- https://www2.sgc.gov.co/sgc/volcanes/Paginas/borrar/sui-mao-ga-o-nam.html
- https://www2.sgc.gov.co/sgc/volcanes/Paginas/borrar/benh-vien-kham-ngoai-gio-hanh-chinh.html
- https://www2.sgc.gov.co/sgc/volcanes/Paginas/borrar/tu-van-phu-khoa-online.htm
- https://www2.sgc.gov.co/sgc/volcanes/Paginas/borrar/dot-sui-mao-ga-o-dau294.htm
- https://bvdkht.vn/feedback/2628/tu-van-phu-khoa.html
- https://www2.sgc.gov.co/sgc/volcanes/Paginas/borrar/gestion-riesgo.htm
- https://www2.sgc.gov.co/sgc/volcanes/Paginas/borrar/chi-phi-va-mang-trinh.html
- https://www2.sgc.gov.co/sgc/volcanes/Paginas/borrar/hinh-anh-benh-tri.htm
- https://www2.sgc.gov.co/sgc/volcanes/Paginas/borrar/chi-phi-cat-bao-quy-dau.html
- https://www2.sgc.gov.co/sgc/volcanes/Paginas/borrar/benh-xa-hoi-294.htm
- https://www2.sgc.gov.co/sgc/volcanes/Paginas/borrar/hinh-anh-viem-lo-tuyen-co-tu-cung.htm
- https://www2.sgc.gov.co/sgc/volcanes/Paginas/borrar/costo-del-tratamiento-de-las-hemorroides.html
- https://www2.sgc.gov.co/sgc/volcanes/Paginas/borrar/sui-mao-ga-o-nu.html
- https://www2.sgc.gov.co/sgc/volcanes/Paginas/borrar/phong-kham-da-khoa-uy-tin.html
- https://www2.sgc.gov.co/sgc/volcanes/Paginas/borrar/tu-van-nam-khoa-online294.htm
- https://www2.sgc.gov.co/sgc/volcanes/Paginas/borrar/kham-phu-khoa-nhu-the-nao.html
- https://www2.sgc.gov.co/sgc/volcanes/Paginas/borrar/review-phong-kham-hung-thinh.html
- https://www2.sgc.gov.co/sgc/volcanes/Paginas/borrar/hinh-anh-sui-mao-ga294.htm
- https://www2.sgc.gov.co/sgc/volcanes/Paginas/borrar/tu-van-nam-khoa.html
- https://www2.sgc.gov.co/sgc/volcanes/Paginas/borrar/sui-mao-ga-o-mieng.html
- https://www2.sgc.gov.co/sgc/volcanes/Paginas/borrar/buscar.htm
- https://bvdkht.vn/feedback/2628/pha-thai-o-dau-an-toan.html
- https://bvdkht.vn/feedback/2553&pha-thai-o-dau-tot-nhat.html
- https://www2.sgc.gov.co/sgc/volcanes/Paginas/borrar/cach-lam-co-bui-tri-ngoai.html
- https://www2.sgc.gov.co/sgc/volcanes/Paginas/borrar/kham-phu-khoa-o-dau.html
- https://bvdkht.vn/feedback/2553&phong-kham-tri-uy-tin.html
- https://www2.sgc.gov.co/sgc/volcanes/Paginas/borrar/phong-kham-nam-khoa-uy-tin.html