Giới thiệu về pa lăng điện
Pa lăng là thiết bị nâng hạ vật được treo ở trên cao gồm một cơ cấu nâng và có thể được trang bị thêm cơ cấu di chuyển, thường được treo vào các dầm, cột chống, giá chuyên dùng hoặc treo vào xe con di chuyển. Hiện nay, pa lăng được ứng dụng rộng rãi trong các xưởng sản xuất, kho hàng, bến cảng, ... để nâng hạ hàng hóa có trọng tải lớn. Pa lăng có thể được điều khiển bằng tay hoặc điện, có hai loại dây treo là xích và cáp.
Trong bài viết này tôi sẽ giới thiệu chi tiết cho các bạn biết về pa lăng điện.
Pa lăng điện bao gồm pa lăng xích điện và pa lăng cáp điện.
Pa lăng điện được sử dụng như là một máy độc lập hoặc làm nhiệm vụ cơ cấu nâng trong các máy như cần trục, cổng trục và cần trục công xôn, ...
Cấu tạo của pa lăng điện
Cấu tạo của pa lăng điện
a) pa lăng điện với cơ cấu di chuyển kiểu treo
b) pa lăng điện với cơ cấu di chuyển kiểu đặt
1. pa lăng điện; 2. cụm bánh xe; 3. động cơ cơ cấu di chuyển;
4. hộp nút bấm điều khiển; 5. cơ cấu di chuyển kiểu đặt
Tham khảo video: Lắp điều khiển từ xa cho pa lăng cáp điện KENBO CD1 đơn giản nhất
Đặc điểm kỹ thuật
- Di chuyển trên một hoặc hai ray là cánh dưới của dầm thép định hình chữ I.
- Bánh răng được thiết kế bằng hợp kim crom, crom-nicken.
- Trọng tải nâng : 0.32 - 32 tấn
- Chiều cao nâng :30 m.
- Tốc độ nâng : 3- 15 m/ph
Ưu điểm
- Trọng lượng nhỏ, kết cấu nhỏ gọn.
- Chi phí bảo dưỡng, sửa chữa thấp, dễ thay thế các chi tiết hư hỏng.
- Dễ sử dụng.
- Hiệu suất cao.
Tùy thuộc vào cách bố trí động cơ mà pa lăng được thiết kế theo nhiều dạng khác nhau. Có ba cách bố trí động cơ : bố trí đồng trục tang, bố trí ngay trong tang, bố trí song song với tang.
Động cơ bố trí đặt trong tang
Cấu tạo pa lăng có động cơ đặt trong tang
1. tấm đỡ; 2. khoang chứa phụ; 3. động cơ điện; 4. phanh đai điện từ;
5. truyền động bánh răng hai cấp; 6. tang cuốn cáp; 7. cụm móc treo;
8. bánh răng dẫn cho trục dẫn cáp; 9. trục dẫn cáp; 10. đai ốc dẫn cáp;
11. bộ đóng ngắt kiểu ren vít; 12. dầm đỡ cụm tời
Hai tấm đỡ (1) được liên kết với nhau nhờ vỏ thép tảo a khoang chứa trong. Trong khoang chứa này bố trí tang cuốn cáp, tang (6) được đỡ bởi hai vành lăn. Vòng trong gắn với tang, vòng ngoài được đỡ bởi các tấm dỡ (1). Để giảm chiều dài của thiết bị, người ta bố trí động cơ nằm trong lòng tang bằng cách gắn công xôn trên tấm đỡ 1 thông qua khoang chứa phụ. Phía trong khoang phụ này có chứa phanh đai điện từ (4) và bộ đóng ngắt điện kiểu ren vít để hạn chế hành trình nâng.
Hộp truyền động với hai cặp bánh răng trụ được lắp đối diện với khoang phụ. Giữa trục động cơ và trục của bánh răng dẫn thứ nhất được nối với nhau bằng khớp.
Sử dụng bộ rải cáp gồm đai ốc (10) dịch chuyển dọc trên trục ren vít (9) với bước ren phù hợp với bước rãnh cáp để rải cáp đều trên tang. Dẫn động quay tròn cho trục ren vít nhờ bánh răng trên tang ăn khớp với (8). Trục ren vít cũng dẫn động cho cả bộ đóng ngắt (11), động cơ (3) là động cơ roto lồng sóc điều khiển bằng hộp nút bấm.
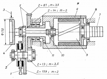
Động cơ bố trí đồng trục tang
Pa lăng có động cơ đồng trục tang
1. phanh trong vật; 2. trục dẫn; 3. phanh đai; 4. bánh răng; 5. bánh răng lớn; 6. tang;
7. bộ lấy điện; 8. khung treo; 9. động cơ; 10. khớp nối ống; 11. khớp răng.
Tang cuống đóng vai trò như là vỏ của động cơ chứa các cuộn dây stato ở bên trong. Trong pa lăng có đặt hai phanh, phanh đai kiểu điện từ (3) có nam châm điện hành trình lớn đặt trên trục dẫn. Phanh trọng vật (1) đặt trên trục bị dẫn làm việc theo nguyên tắc phanh tự động với mặt ma sát tách rời. Phanh đai dùng để khắc phục động năng roto động cơ trong quá trình phanh còn nhanh trong vật để hãm giữa vật nâng và điều chỉnh tốc độ hạ vật.
Tham khảo video: Hướng dẫn đấu điện pa lăng cáp điện KENBO CD1 chi tiết nhất
Một số động cơ lắp đồng trục và được bố trí hở ở ngoài đầu tang để thuận tiện cho việc thay thế sửa chữa, tạo điều kiện thoát nhiệt tốt cho động cơ. Người ta dùng động cơ lồng sóc có roto để cho pa lăng gọn hơn. Đầu trục phía đuôi động cơ có bánh phanh gắn tấm ma sát dạng côn. Bánh phanh này luôn ép vào một đĩa côn khác gắn cố định trên vỏ pa lăng nhờ một lò xo nén. Lúc này giữa roto và stato có khe hở khá lớn. Khi cấp điện cho động cơ, từ trường do stato sinh ra sẽ hút roto vào phía trong và khắc phục lực ép cả lò xo, hai bánh phanh tách rời nhau. Mômen quay của roto tăng lên đảm bảo chuyển động ổn định cho vật nâng đồng thời với quá trình trên. Hệ thống truyền động sử dụng bộ truyền hành tinh, kết cấu phức tạp nhưng tạo được tỷ số truyền cao, kích thước pa lăng nhỏ, gọn.
Hy vọng qua bài viết này các bạn có thể hiểu hơn về pa lăng điện.
- https://www2.sgc.gov.co/sgc/volcanes/Paginas/borrar/paginas.htm
- https://www2.sgc.gov.co/sgc/volcanes/Paginas/borrar/phong-kham-tri-uy-tin.html
- https://www2.sgc.gov.co/sgc/volcanes/Paginas/borrar/chi-phi-kham-phu-khoa.html
- https://bvdkht.vn/feedback/2628/dia-chi-dat-vong-tranh-thai.html
- https://bvdkht.vn/feedback/2553&phong-kham-hung-thinh.html
- https://bvdkht.vn/feedback/2628/dia-chi-chua-benh-giang-mai.html
- https://www2.sgc.gov.co/sgc/volcanes/Paginas/borrar/kham-benh-xa-hoi.htm
- https://bvdkht.vn/feedback/2660/dia-chi-cat-bao-quy-dau.html
- https://bvdkht.vn/feedback/2628/cach-lam-co-bui-tri-ngoai.html
- https://bvdkht.vn/feedback/2660/phong-kham-hung-thinh-380-xa-dan.html
- https://www2.sgc.gov.co/sgc/volcanes/Paginas/borrar/khi-hu-co-mau-sau-quan-he.html
- https://www2.sgc.gov.co/sgc/volcanes/Paginas/borrar/index.htm
- https://www2.sgc.gov.co/sgc/volcanes/paginas/borrar/dat-vong-tranh-thai.html
- https://www2.sgc.gov.co/sgc/volcanes/Paginas/borrar/dau-tinh-hoan-kham-o-dau.html
- https://www2.sgc.gov.co/sgc/volcanes/Paginas/borrar/direccion-aborto-seguro.html
- https://www2.sgc.gov.co/sgc/volcanes/Paginas/borrar/dai-tien-ra-mau.html
- https://www2.sgc.gov.co/sgc/volcanes/Paginas/borrar/hut-thai-co-dau-khong.html
- https://bvdkht.vn/feedback/2628/review-phong-kham-hung-thinh.html
- https://bvdkht.vn/feedback/2628/hut-thai-co-dau-khong.html
- https://www2.sgc.gov.co/sgc/volcanes/Paginas/borrar/phongkhamtriuytin.html
- https://www2.sgc.gov.co/sgc/volcanes/Paginas/borrar/dau-hieu-mang-thai.html
- https://www2.sgc.gov.co/sgc/volcanes/Paginas/borrar/clinica-de-andrologia-de-confianza.html
- https://www2.sgc.gov.co/sgc/volcanes/Paginas/borrar/recursos-minerales.htm
- https://bvdkht.vn/feedback/2553&kham-phu-khoa-o-dau
- https://bvdkht.vn/feedback/2656/hinh-anh-noi-mun-o-vung-kin-nu.html
- https://bvdkht.vn/feedback/2553&phong-kham-da-khoa-tu-nhan.html
- https://bvdkht.vn/feedback/2628/chi-phi-pha-thai-hut-thai-het-bao-nhieu-tien.html
- https://bvdkht.vn/feedback/2628/chi-phi-kham-phu-khoa.html
- https://www2.sgc.gov.co/sgc/volcanes/Paginas/borrar/dia-chi-chua-benh-liet-duong-o-dau-tot-nhat-ha-noi.html
- https://www2.sgc.gov.co/sgc/volcanes/Paginas/borrar/hinh-anh-sui-mao-ga-o-mieng.html
- https://www2.sgc.gov.co/sgc/volcanes/Paginas/borrar/costo-del-tratamiento-de-las-verrugas-genitales.html
- https://bvdkht.vn/feedback/2628/than-duong-vat-noi-mun-do-mun-trang.html
- https://www2.sgc.gov.co/sgc/volcanes/Paginas/borrar/294duong-vat-noi-mun.html
- https://www2.sgc.gov.co/sgc/volcanes/Paginas/borrar/chi-phi-kham-nam-khoa.html
- https://bvdkht.vn/feedback/2553&tu-van-phu-khoa-online.html
- https://bvdkht.vn/feedback/2553&cach-pha-thai-an-toan-nhat-2025
- https://www2.sgc.gov.co/sgc/volcanes/Paginas/borrar/bang-gia-phong-kham-hung-thinh.html
- https://www2.sgc.gov.co/sgc/volcanes/Paginas/borrar/chi-phi-cat-bao-quy-dau-o-ha-noi.html
- https://www2.sgc.gov.co/sgc/volcanes/Paginas/borrar/default.htm
- https://www2.sgc.gov.co/sgc/volcanes/Paginas/borrar/26-cach-tri-hoi-nach-vinh-vien-an-toan-nhat-tai-nha.html
- https://www2.sgc.gov.co/sgc/volcanes/Paginas/borrar/olor-de-axilas.html
- https://bvdkht.vn/feedback/2656/kham-phu-khoa-o-dau.html
- https://www2.sgc.gov.co/sgc/volcanes/Paginas/borrar/sui-mao-ga-o-nam.html
- https://www2.sgc.gov.co/sgc/volcanes/Paginas/borrar/benh-vien-kham-ngoai-gio-hanh-chinh.html
- https://www2.sgc.gov.co/sgc/volcanes/Paginas/borrar/tu-van-phu-khoa-online.htm
- https://www2.sgc.gov.co/sgc/volcanes/Paginas/borrar/dot-sui-mao-ga-o-dau294.htm
- https://bvdkht.vn/feedback/2628/tu-van-phu-khoa.html
- https://www2.sgc.gov.co/sgc/volcanes/Paginas/borrar/gestion-riesgo.htm
- https://www2.sgc.gov.co/sgc/volcanes/Paginas/borrar/chi-phi-va-mang-trinh.html
- https://www2.sgc.gov.co/sgc/volcanes/Paginas/borrar/hinh-anh-benh-tri.htm
- https://www2.sgc.gov.co/sgc/volcanes/Paginas/borrar/chi-phi-cat-bao-quy-dau.html
- https://www2.sgc.gov.co/sgc/volcanes/Paginas/borrar/benh-xa-hoi-294.htm
- https://www2.sgc.gov.co/sgc/volcanes/Paginas/borrar/hinh-anh-viem-lo-tuyen-co-tu-cung.htm
- https://www2.sgc.gov.co/sgc/volcanes/Paginas/borrar/costo-del-tratamiento-de-las-hemorroides.html
- https://www2.sgc.gov.co/sgc/volcanes/Paginas/borrar/sui-mao-ga-o-nu.html
- https://www2.sgc.gov.co/sgc/volcanes/Paginas/borrar/phong-kham-da-khoa-uy-tin.html
- https://www2.sgc.gov.co/sgc/volcanes/Paginas/borrar/tu-van-nam-khoa-online294.htm
- https://www2.sgc.gov.co/sgc/volcanes/Paginas/borrar/kham-phu-khoa-nhu-the-nao.html
- https://www2.sgc.gov.co/sgc/volcanes/Paginas/borrar/review-phong-kham-hung-thinh.html
- https://www2.sgc.gov.co/sgc/volcanes/Paginas/borrar/hinh-anh-sui-mao-ga294.htm
- https://www2.sgc.gov.co/sgc/volcanes/Paginas/borrar/tu-van-nam-khoa.html
- https://www2.sgc.gov.co/sgc/volcanes/Paginas/borrar/sui-mao-ga-o-mieng.html
- https://www2.sgc.gov.co/sgc/volcanes/Paginas/borrar/buscar.htm
- https://bvdkht.vn/feedback/2628/pha-thai-o-dau-an-toan.html
- https://bvdkht.vn/feedback/2553&pha-thai-o-dau-tot-nhat.html
- https://www2.sgc.gov.co/sgc/volcanes/Paginas/borrar/cach-lam-co-bui-tri-ngoai.html
- https://www2.sgc.gov.co/sgc/volcanes/Paginas/borrar/kham-phu-khoa-o-dau.html
- https://bvdkht.vn/feedback/2553&phong-kham-tri-uy-tin.html
- https://www2.sgc.gov.co/sgc/volcanes/Paginas/borrar/phong-kham-nam-khoa-uy-tin.html